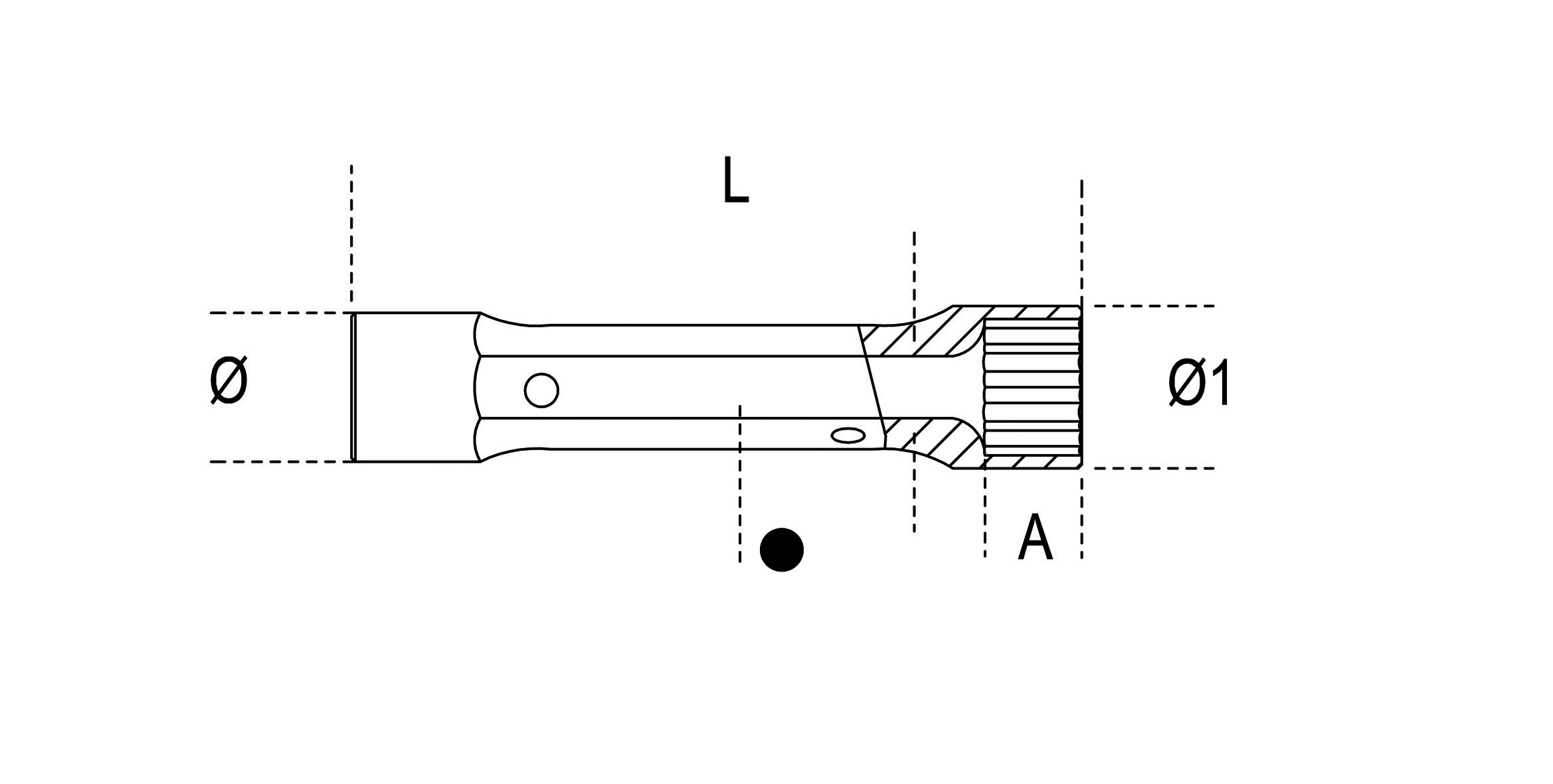
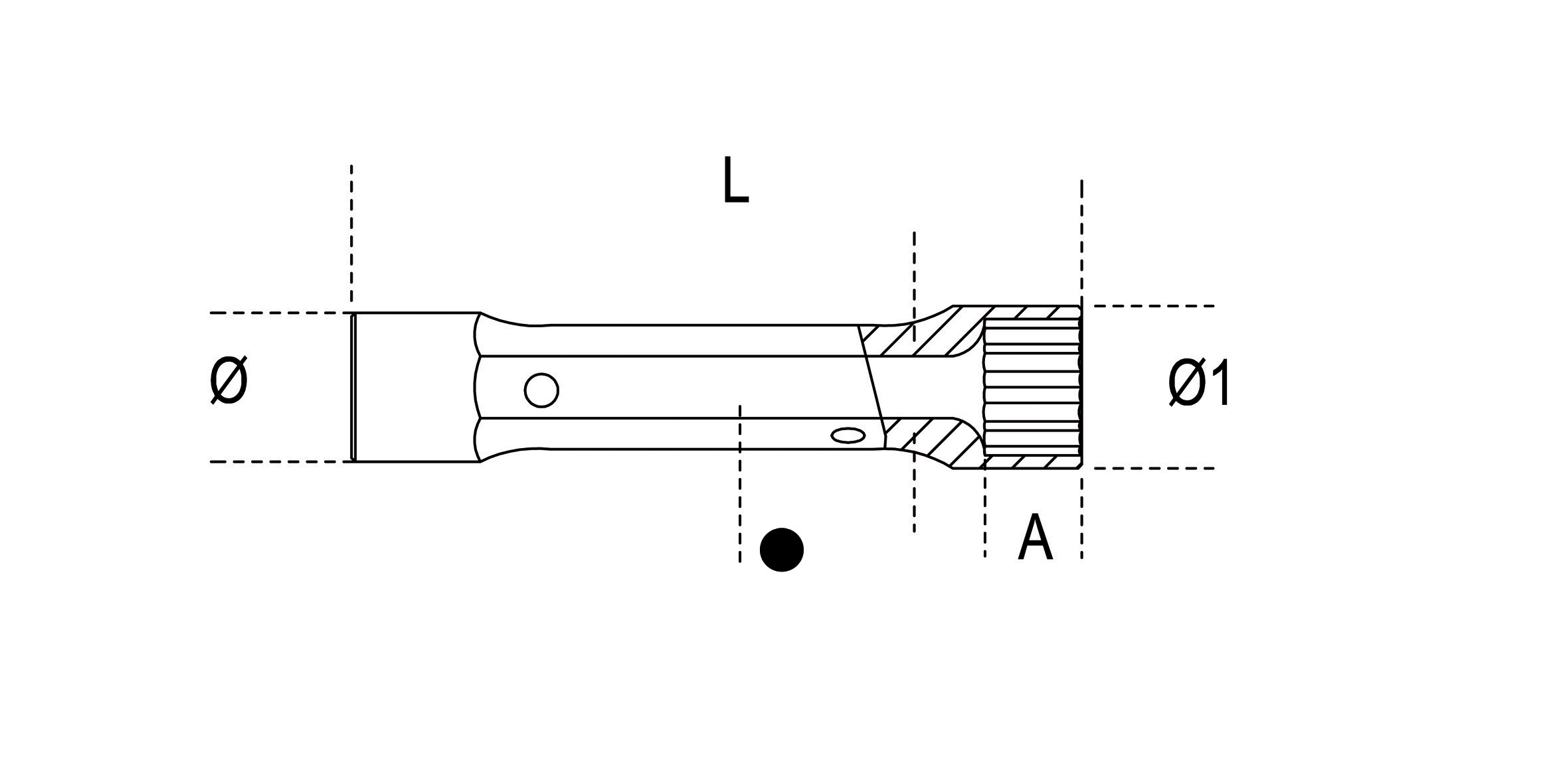
Caratteristiche tecniche Chiavi a tubo doppie esagonali serie leggera 935 chiavi cromate satinate. Serie 935 Art: 935 Normative:UNI 6746 DIN 896 Consultare la scheda prodotto nel PDF sottostante, per ulteriori informazioni e dati tecnici. Scarica la scheda prodotto
Ti potrebbe interessare anche Assortimento di 9 chiavi esagonali piegate € 5,79 Chiavi a tubo doppie poligonali, serie pesante 930 € 12,81 Serie di 9 chiavi maschio esagonale piegate con estremità sferica 96BPC/SC9 € 42,09 Raccordo con attacco quadro femmina 3/8 e maschio 1/2 € 9,15